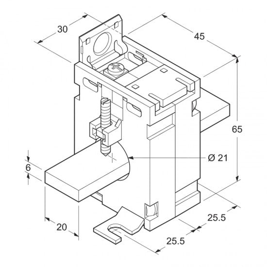
The M53Q Range of Solid Core Current Transformers from Crompton Instruments work in conjunction with any 5A CT Operated Electricity Meters. You can use individual M53Q CTs for Single Phase applications, you can also use several of these current transformers for Three Phase applications. The Aperture on this model accommodates 21mm² Cable, as well as 20mm x 6mm Busbar. The M53Q is ideal for applications such as Distribution systems, Generator sets, Control Panels and Switchgear.
Technical Specification
- 21mm² Aperture
- 20mm x 6mm Busbar Aperture
- 50-300A Primary Current
- 5A Secondary Current
- Secondary M4 Screw Terminals
- Accuracy Class 0.5, 1 or 3
- Busbar or DIN Rail Mounted

